应用文章
使用OI-EASU321型EMI扫描仪进行芯片EMI表面扫描方案
- 发布时间:2023-11-09 13:33:35
介绍:
在现代电子设备的制造过程中,电磁干扰(EMI)成为了一个不可忽视的问题。特别是在集成电路的设计和生产过程中,随着电子设备的普及和发展,电磁干扰(EMI)对芯片性能的影响变得越来越重要,而芯片上的EMI表面扫描则变得尤为重要。本文将向您介绍我们公司所推出的OI-EASU321型EMI扫描仪,为了确保芯片的稳定性和可靠性,我们推荐使用OI-EASU321型EMI扫描仪,结合IEC61967-3标准,进行芯片EMI表面扫描以及它在芯片EMI表面扫描方面等实际场景的应用。
主要设备
· OI-EASU321型EMI扫描仪和软件:该扫描仪是一款高效、精确的设备,专门用于测量和分析芯片的电磁辐射。配备先进的EMI扫描软件,可以提供全面的数据分析和报告生成功能。
· FSV3044信号分析仪:作为EMI扫描仪的配套设备之一,FSV3044信号分析仪能够实时监测和记录芯片发出的电磁波形,为后续的数据处理和分析提供支持。
· ICE40ICH40近场探头组:这款近场探头组是EMI表面扫描的关键工具。它能够准确地接收芯片发出的电磁辐射信号,并将其传输到扫描仪进行处理。探头组的设计使其适用于各种尺寸和类型的芯片。

IEC61967-3标准
· IEC61967-3是国际电工委员会(IEC)制定的用于测量和评估设备辐射性能的标准之一。该标准提供了一套全面的测试方法和要求,确保芯片在实际使用中不会对其他设备产生不必要的电磁干扰。使用OI-EASU321型EMI扫描仪结合IEC61967-3标准,可以更好地评估芯片的性能和符合度。
IEC61967-3测试方法(辐射发射的测量-表面扫描法)
测试条件
· 基础条件:试验条件应符合IEC 61967-1的要求。此外,还应适用以下试验条件。
· 电源电压:电源电压应遵循IC制造商的规范。如果用户使用其他电压,应在测试报告中记录。
· 频率范围:这个辐射发射测量程序的有效频率范围是150khz到6ghz。如果单个探头无法覆盖整个频率范围,则可以将频率范围划分为子范围,以允许使用多个探头,每个探头适合单独的频率子范围。

测试设备
· 基础条件:试验设备应符合IEC 61967-1的要求。此外,应适用以下测试设备要求。
· 屏蔽:探头与测量设备之间的互连建议使用双屏蔽或半刚性同轴电缆。根据当地的环境条件,也可能需要在屏蔽室内进行测量。
· RF测量仪:用于该测试方法的RF测量仪器取决于所选探头的类型以及是否要获取相位或时间信息。在使用电场或磁场探头并仅测量 发射幅值的情况下,使用单输入设备,如频谱分析仪、EMI接收机或示波器应使用。对于时域测量,可以使用示波器。在利用电场或磁场探头测量发射幅值和相位的情况下,一个双输入设备,如矢量信号测量仪器应使用。NOTE用矢量信号测量仪测量相位和幅度时,需要使用参考输入(R)和另一个输入(a或B)。s参数端口一般不能用于此测量。应调整频谱分析仪或接收机的分辨率带宽,以确保有足够的噪声裕度(大于6dB),同时允许足够的扫描时间,这取决于所选择的测试程序。视频带宽不应小于分辨率带宽的三倍。分辨率带宽和视频带宽应在测试报告中描述。
· 前置放大器:低噪声高增益前置放大器可用于提高灵敏度或满足测试环境要求(下文环境条件有详细说明)。为了使测量噪声最低,前置放大器应以尽可能短的电缆连接到探头。其特性(如增益、噪声系数等)应包括在测试报告中。近场探测器的回波损耗通常很低。如果探头没有很好的阻抗匹配,系统的噪声系数和增益将被修改。为了避免不必要的影响,如振荡或前置放大器损坏,在选择前置放大器时要特别注意其在近场扫描设置环境中的稳定性。
· 电缆:探针的扫描运动需要在设置的某些元素之间使用柔性电缆。除了保持其高频性能外,还应注意选择耐久的探头 扫描运动电缆。电缆损耗作为频率的函数应包括在测试报告中。由于电缆的反复运动,会加速其劣化,应定期对电缆进行校准。当测试频率高于1ghz或需要进行相位测量时, 每次测试前应对电缆进行校准。
近场探头
· 基本条件:用于表面扫描的近场探头可以根据用户的偏好、要测量的场的类型、测量设备的能力和所需的测量空间分辨率采取各种形式。有些探头只在特定的方向上接收场。为了在几个方向上接收场,需要在 扫描过程中改变探头或旋转探头。测试报告中应包括用于测量的探头的简要说明。适用的频率范围取决于探头的结构和校准方法。
· 磁(H)场探头:对于磁场测量,常使用单匝、微型磁环探头。典型的探头由导线、同轴电缆、PCB或任何其他合适的材料组成。
· 电(E)磁场探头:对于电场测量,通常使用微型电场探头。探头可以由电线、同轴电缆、PCB走线或任何其他合适的材料构成。
· 电磁联合(E/H)场探头:对于联合电场和磁场测量,通常使用单圈微型磁环探头。探头可以由电线、同轴电缆、PCB走线或任何其他合适的材料构成。
· 探头定位和数据采集系统:需要一个精确的探头定位系统和数据采集系统。探头定位系统应能够在至少两个轴上移动探头(平行于DUT表面), 并且能够用比最小要求步长至少小十倍的机械步长定位探头。近场探头的x、y、z位置在旋转后可能会出现错位。应注意通过重新定位探头来补偿由此产生的偏移。
测试设置
· 基础:测试装置应符合IEC 61967-1中描述的要求。此外,应适用以下测试设置要求。
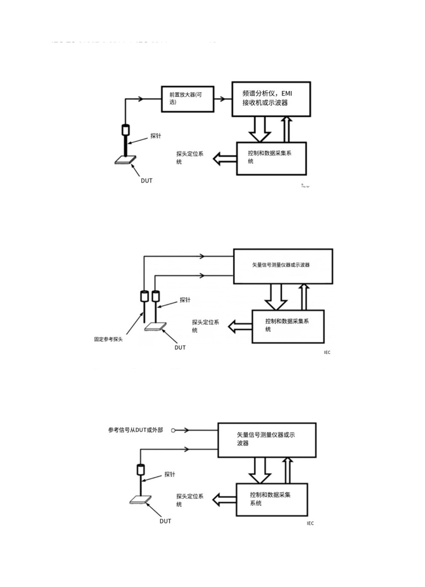
· 测试配置

第一种测试配置只允许测量大小,其余两种允许相位或时域测量幅度,对于相位或时域测量,需要一个参考信号。该信号可以被外部应用到设备的引脚上,通过引脚从设备 输出或用固定的辅助探针捕获。
为了计算DUT上的电流分布,需要相位信息。如果只需要辐射场的幅值,则不需要相位信息。
· 测试电路板:安装和扫描DUT的测试电路板可以是扫描探针可以接触到的任何电路板。如果要对集成电路进行比较评估,则应在相同的PCB上进行测试。PCB可以是应用PCB或按照IEC 61967-1设计的标准化测试电路板。测试线路板应牢固地安装在测头定位系统中,以增强测试的可重复性。这应该通过使用对辐射场有有限影响的测试夹具来实现
· 探头定位系统软件设置:在DUT及其测试PCB设置好后,验证探头定位系统软件是否配置了所需的扫描参数,特别是与所需扫描区域有关的 参数。确保在期望的扫描区域内没有可能损坏探针的障碍物。一些扫描仪软件需要参考点来补偿校准误差、原点偏 移等,以及提高测量的可重复性。摄像机、激光器和其他类似的装置可用于辅助校准。DUT的图像也可以被记录下 来,并用作现场测量的背景。测试报告中应包括对此类程序的简要描述。
· DUT软件:在测量期间,应在DUT中实施适当的软件,以满足IEC 61967-1的要求。软件的描述应包含在测试报告中。
测试程序
· 基本:试验程序应符合IEC 61967-1,除非在此作了修改。这些默认的测试条件旨在确保一个一致的测试环境。如果本程序的用户同意其他条件,则应在测试报告中予以记录。
· 环境条件:应测量环境RF噪声级,以建立测试装置的噪声底限。只有测量结果,至少高于噪声底面6分贝,才被认为是可靠的。 被测装置应安装在测试装置中,用于测试。被测装置不应被激活(例如电源电压断开)。应调整测试设备以进行操作 扫描。应进行扫描以测量环境噪声,结果应在测试报告中描述。
如果环境RF噪声水平过高,则应检查整个测量系统的完整性,特别是互连电缆和连接器。必要时,屏蔽外壳、低噪声和/或更高增益的前置放大器或更窄的分辨率带宽应使用
· 操作检查:被测装置应通电并进行运行检查,以确保设备正常运行(即运行IC测试代码)。
测试技术
在IC测试板通电并且DUT在预期测试模式下工作的情况下,在每个期望的频率、位置和场方向上测量探头输出端的信号电平。
所使用的程序将取决于DUT的配置、测试设备、定位系统和数据采集系统,以及任何用户的偏好。例如,可以将探 头定位在特定位置,以一系列频率测量数据,然后移动到下一个位置。然而,在改变测量频率并重新扫描整个表面 之前,可能更倾向于在整个表面上测量特定频率的数据。
在特定位置,测量可以在特定频率下进行(即频谱分析仪以单一固定频率或“零幅”模式工作),或在接收机或频谱 分析仪扫描的频带内进行(即中心频率/幅模式或启动/停止频率模式)。应谨慎选择扫描频带、分辨率带宽、视频带宽 和扫描时间,以便允许集成电路工作的一个完整周期。
当使用频谱分析仪时,启用“最大保持”功能,并允许分析仪在IC工作周期执行时执行至少三次扫描。扫描时间应 该远远大于IC工作周期时间,以确保捕获所有预期事件(脉冲、爆发等)。
说明频谱分析仪上的“最大保持”设置保持每个跟踪数据点的最大电平,如果在连续扫描中检测到新的最大电平,则更新每个点。
当使用接收机时,在每个测试位置停留一段大于或等于6倍IC工作周期时间的时间,并记录检测到的最大电平。
当使用矢量网络分析仪进行相位和幅度测量时,调整参数,如分辨率带宽,平均,扫描时间等,以获得最佳的测量 精度,这取决于正在进行的测量类型。
当使用示波器进行时域测量时,调整采样频率、触发条件、扫描时间、滤波器的使用等,以获得所需的精度和测量 时间。这些参数应包括在测试报告中。
在能够测量单个场方向的探头的情况下,它可以在每个位置自动旋转,以允许测量,例如,x场和y场。如果旋转是手动的,通常是用探针在一个位置扫描整个表面,并在重新扫描表面之前将其旋转90度。如果必须改变探头以从xy平面上的测量场切换到Z平面上的场,则使用类似的程序。在所有情况下,应注意确保各种探头相对于DUT的正确 旋转和定位。
也可以在每个位置旋转探头以找到最大场(例如在xy平面上)。然后将视场角包含在测试报告中。
扫描可以在平行或垂直于IC表面的平面上进行,也可以在一系列平面上进行,从而形成三维映射。测量频率可以改变,以评估DUT发射源模式的频率依赖性。测量平面与集成电路表面之间的距离可以改变,以创建集成电路的三维发射图案。扫描平面和探头的步进可以任意确定,以达到测量的目的。虽然扫描通常在DUT上方的恒定高度进行, 但它们也可以遵循DUT及其周围区域的轮廓。
数据采集系统存储在每个位置探头输出处测量的信号电平、探头方向和频率。后处理可以考虑由前置放大器和电缆引起的增益、损耗和相位偏移。探头校准数据可以允许从测量信号电平到磁场或电场强度的转换。
OI-IC系列无源近场探头
由于集成电路集成度以及时钟速率的不断提高,PCB上存在大量杂散场和杂散电流,并以磁场形式相互耦合,导致产生GHz级别的辐射骚扰。由于PCB上大量安装高密度SMD器件,只有使用高分辨率探头,才能真正找出问题所在。
OI-IC系列无源近场探头主要安装于OI-EAS系列EMI扫描仪上,配合自动测试软件,实现对于PCB布线、元器件和IC引脚的电磁泄漏场的自动扫描。
此外,根据探头测试场量的不同,OI-IC系列近场探头分为电场探头(ICE40型)和磁场探头(ICH40型)。
· OI-ICE40电场探头

· OI-ICH40磁场探头


R&S®FSV3000 信号与频谱分析仪

仪器设置简单快捷,用户可迅速获取测量结果
R&S®FSV3000信号与频谱分析仪一键即可测量,可以通过基于事件的操作捕获信号,并使用SCPI记录器轻松编写脚本程序,从而快速设置复杂测量。分析仪还具有出色的测量速度,可实现高效生产。
OI-EASU321型EMI扫描仪软件功能
· 预测试(干扰查找):查找问题频率,干扰频谱图
· 终测试(干扰成像):定位干扰源和传播路径,3D效果图,叠加被测件成像。
· 定义标准限值:对比不同批次产品一致性、整改效果。
· 数据管理:Word与PDF测试报告,Excel测试数据。
· 实时监控:实时查看被测件工况。
· 自定义成像色域。
· 紧急停止:应对突发状况。
· 补偿修正:准确测量。
· 限位防撞:安全防护。

芯片EMI表面扫描的重要性
芯片上的电磁干扰问题可能会导致设备的故障、性能下降甚至损坏。因此,在芯片设计和制造过程中进行EMI表面扫描变得至关重要。通过使用OI-EASU321型EMI扫描仪,您可以及时发现并解决芯片表面的EMI问题,确保产品的稳定性和可靠性。
OI-EASU321型EMI扫描仪的应用案例
• 芯片生产过程中的质量控制:使用OI-EASU321型EMI扫描仪进行芯片EMI表面扫描,可以及早发现电磁干扰问题,提高芯片的质量。
• 设备维修与故障排除:当设备出现故障或性能下降时,使用OI-EASU321型EMI扫描仪对芯片进行EMI表面扫描,可以快速定位问题,并采取相应的修复措施。
• 芯片设计优化:在芯片设计阶段,使用OI-EASU321型EMI扫描仪对不同设计方案进行EMI表面扫描,可以评估其电磁兼容性,并优化设计方案。
• 实验室研发测试:便于工程师有针对性地采取干扰抑制措施,在设计过程及早识别EMC问题,优化设计,有效减少成本,缩短研发周期。
结论:
随着电子设备的不断发展,芯片EMI表面扫描变得越来越重要。通过使用OI-EASU321型EMI扫描仪,结合IEC61967-3标准,我们可以更好地评估芯片的性能和符合度。这将有助于确保芯片的稳定性和可靠性,提高产品质量,为用户提供更好的使用体验。您可以及时发现潜在的EMI问题,提高产品的质量和可靠性。无论是在芯片生产过程中的质量控制、设备维修与故障排除,还是芯片设计优化,OI-EASU321型EMI扫描仪都是您的理想选择。赶快联系我们,了解更多关于OI-EASU321型EMI扫描仪的信息吧!
版权声明:本资料属于北京海洋兴业科技股份有限公司所有,如需转载,请注明出处!
- 上一篇:使用万用表测试4~20mA电流环路
- 下一篇:EMI扫描仪测试实例




